Вот как работает система фокусировки вашей камеры

Вот как работает система фокусировки вашей камеры
Вот как работает система фокусировки вашей камеры

Если вы начинаете работать штатным фотографом или серьезно увлекаетесь фотографией, вам следует знать, как работает система фокусировки вашей камеры. В зависимости от вашей камеры вы встретите два типа систем фокусировки: контрастную и фазовую. Еще одним важным аспектом систем фокусировки являются точки фокусировки, конструкция которых зависит от производителя.

Изображение
Изображение

Контраст и фазовая детекция

Обнаружение контраста - это, по сути, фокусировка путем определения контраста в точках фокусировки. Он не может эффективно измерять расстояние, фактически он вообще не измеряет расстояние. Что делает обнаружение контраста, так это поиск до тех пор, пока области, на которые он направлен, будут как можно более четкими. Но чтобы узнать, когда они достигают максимальной остроты, необходимо пройти один раз, чтобы убедиться в резкости, а затем снова пройти, чтобы сфокусироваться. Вот почему вы часто видите, как система фокусировки на ваших смартфонах работает плохо, особенно если вы двигаетесь.

Обнаружение контраста обычно является предпочтительной системой фокусировки для беззеркальных камер (за исключением нескольких камер, использующих гибридные системы фокусировки), и из-за способа ее работы делает его практически бесполезным для отслеживания объектов из-за проблемы с поиском. Алгоритмы, конечно, совершенствуются со временем, но до фазового определения еще далеко.

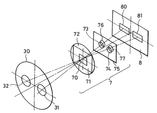
Обнаружение фазы, с другой стороны, в основном используется в зеркальных камерах (как аналоговых, так и цифровых), использует полупрозрачную часть зеркала для передачи света на датчик фокусировки. Этот свет разделяется на два луча, которые затем используются для измерения расстояния вне фокуса. А поскольку датчик знает, как разделяются лучи, он знает, в каком направлении вращать мотор фокусировки, поэтому он не ищет, как это делает система обнаружения контраста. Вот почему система фазовой фокусировки лучше всего подходит для отслеживания объектов. Он может определить, в каком направлении переместился объект, и затем соответствующим образом отрегулировать фокус.

Точность, скорость и способность фокусировки систем фазовой детекции в целом зависят от точек фокусировки и объектива. В определении фазы объектив играет небольшую роль: чем шире апертура, тем легче работа системы фокусировки (с точки зрения способности фокусироваться и точности). Мотор фокусировки объектива, будь то DCM или USM, определяет скорость процесса фокусировки. Чем быстрее мотор, тем быстрее будет фокусировка. Однако точки фокусировки определяют фокус. Таким образом, точность и способность фокусироваться незначительно влияют на скорость фокусировки.

Изображение
Изображение

Гибридные системы Другой подгруппой фокусирующих систем могут быть гибридные системы. Недавно представленная в нескольких беззеркальных камерах, она сочетает в себе обе системы фокусировки для достижения максимальной скорости фокусировки. Она не оказалась быстрее старой доброй системы фазового обнаружения SLR, но она все еще новая и требует дальнейшего развития.

Поскольку это система беззеркальных камер, определение фазы происходит на датчике, у которого некоторые датчики замаскированы с левой или правой стороны, чтобы иметь возможность сравнивать фазы. Это изменяет качество изображения и чувствительность этих датчиков, но производители утверждают, что это не влияет на качество изображения.

Теперь о точках фокусировки

Теперь, когда у вас есть общее представление о том, как работают системы фокусировки, давайте углубимся в точки фокусировки.

Существует три типа точек фокусировки: нормальные, крестообразные и высокоточные крестообразные. Обратите внимание, что разные производители могут называть их по-разному, но общая идея одна и та же.

Обычные точки фокусировки определяют фазу по горизонтальной оси, что лучше всего работает при фокусировке на вертикальных объектах (деревья, двери, дома и т. д.), но когда речь идет о объектах, параллельных линиям обнаружения фазы., датчик практически слепой. Сфокусироваться на чем-то вроде оконных жалюзи с помощью обычной точки фокусировки будет практически невозможно.

Изображение
Изображение

Точки крестового типа, с другой стороны, имеют горизонтальные и вертикальные линии определения фазы, которые позволяют сфокусироваться практически на чем угодно. Линии определения фазы расположены крестом, отсюда и название.

Точки перекрестного типа двойной точности (также известные как точки перекрестного типа высокой точности) аналогичны обычным точкам перекрестного типа, только область, используемая для определения фокуса, больше и гораздо более чувствительна. Это проявляется в сочетании с объективом с широкой диафрагмой (2,8 и шире).

Обратите внимание, что большинство камер имеют комбинацию высокоточных крестовых точек, обычного крестового типа и обычных точек. Часто центральная точка является наиболее точной, поскольку именно она используется чаще всего.

Кроме того, GE точности фокусировки снижается по мере удаления от центра. Это связано с геометрией линзы. Все объективы резче посередине и теряют детализацию и качество по углам; это также влияет на фокусировку. Вот почему большинство камер размещают большую часть точек фокусировки как можно ближе к центру кадра.