Apple подает патент на печать токопроводящими чернилами на трехмерных объектах

Apple подает патент на печать токопроводящими чернилами на трехмерных объектах
Apple подает патент на печать токопроводящими чернилами на трехмерных объектах

Ну и что тут у нас? На следующий день после Рождества Apple взяла все деньги, полученные от бабушки, и использовала их для подачи 28 патентов в Бюро патентов и товарных знаков США. И в его патентной свалке была похоронена заявка на «струйный принтер для печати на трехмерном объекте».

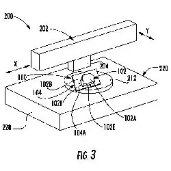
В прошлом, в 3DPI, мы занимались печатью на криволинейных поверхностях. Часто будет независимая рука робота, которая пишет по контуру объекта. Что отличает этот патент, так это то, что сам объект манипулируют, поворачивают и наклоняют, так что печатающая головка может наносить на его поверхности проводящие чернила. См. фрагмент патентной заявки ниже:

яблочный патент 3D-печать
яблочный патент 3D-печать

Предоставляется струйный принтер, сконфигурированный для печати на трехмерных объектах. Струйный принтер может включать в себя печатающую головку, которая выбрасывает проводящие чернила. Струйный принтер может также включать узел, сконфигурированный для регулировки положения объекта относительно печатающей головки. Регулировочный узел может включать приспособление, предназначенное для удержания объекта, такого как печатная плата, на которой должна быть выполнена печать. Крепление может быть сконфигурировано для удерживания объекта таким образом, что открыты несколько его поверхностей, которые могут быть неплоскими. Механизм регулировки наклона может быть соединен с приспособлением и выполнен с возможностью регулировки угла наклона объекта. Кроме того, к приспособлению может быть присоединен механизм регулировки поворота, выполненный с возможностью регулировки углового положения печатной платы. Соответственно, каждая из поверхностей объекта может быть ориентирована вверх, так что печатающая головка может печатать на них.

Патентная заявка, похоже, не указывает на то, что компания зашла слишком далеко на территорию 3D-печати. Вместо этого это может отражать намерение Apple производить изогнутые интеллектуальные устройства, для которых может потребоваться возможность печатать токопроводящими чернилами на трехмерном объекте.

Тем не менее, ход этого процесса намекает на небольшие шаги, предпринимаемые на пути к всеобъемлющей 3D-печати, в которой объекты в процессе печати могут быть пропитаны проводящим материалом. Если печатающая головка, описанная в патенте, будет немного модифицирована для использования экструдера FFF, появится возможность получить более богатый и гибкий процесс 3D-печати.